Views: 2 Author: Site Editor Publish Time: 2024-06-28 Origin: Site
If you want to understand the structure of feed pellet machine, one picture is enough !
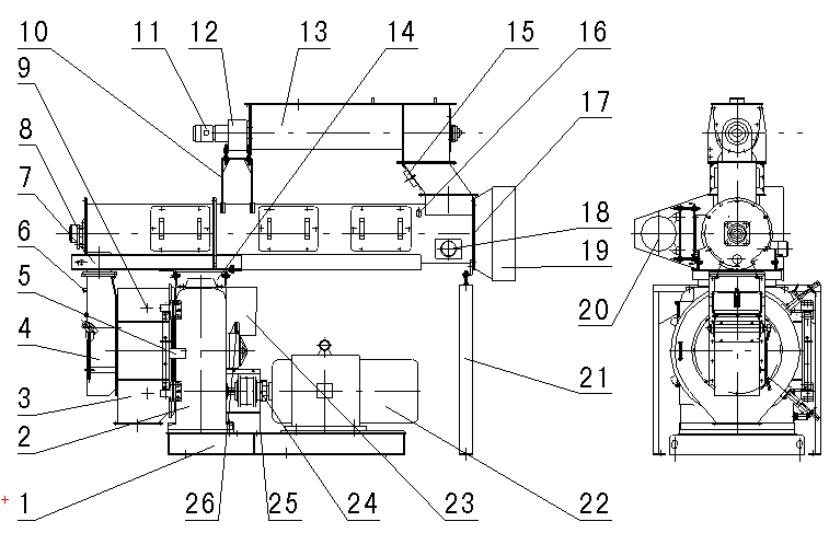
Figure SZLH-350 PELLET MILL STRUCTURE
1. Base 2. Gearbox 3. Pellet Chamber Door 4. Feed Chute 5. Limit Switch 6. Sight Glass 7. Hoist Guide(not equipped now) 8. Bearing with Housing 9. Knife Assembly 10. Support 11. Speed-adjusting Motor 12. Reducer 13. Feeder Screw 14.upport 16. Molasses Inlet 17. Bearing 18. Steam Inlet 19. Guard 20. Motor 21. Support 22. Motor 23. Oil-adding Pump 24.Coupling 25. Guard 26. Limit Switch
What’s the use condition of feed pellet machine ?
Follow the conditions below when operating the pellet mill:
1.1 The pellet mill should be installed in a room or and open shed with ambient temperature of 5-40℃.
1.2 The equipment in front of and behind the pellet mill should match each other.
1.3 The working voltage should be stable with deviation not more than +-5%.
1.4 The moisture of mash material should not be more than 15% before it enters the machine.
1.5 The pressure and temperature of supplied steam should be in accordance with the stipulations of this manual.
1.6 Galvanometer and operation switch should be installed on the site of pellet mill for the convenience of observation and operation.
What needs to be done before the machine starts production ?
1.1 Turn on the main motor.
1.2 Turn on the conditioner motor and the feeder motor, adjust the feeder to the lowest rotation speed.
1.3 Adjust steam pressure and let the condensate water out of the steam pipe.
1.4 Open the discharging door and open the admission valve at the same time. Slightly adjust the rotational speed of feeder motor. After pellet is produced, gradually adjust the rotational speed of feeder and steam adding volume to a proper level.
1.5 Adjust knife to make the pellet length appropriate.
1.6 Further adjust the rotational speed of feeder to make the working current reach the rated current value, and relevantly adjust the steam flow to make the temperature and humidity appropriate.
How to stop the machine ?
Follow the stipulated sequence to stop the machine without lowering your guard to avoid the equipment accident caused by wrong operation.
1, Close the discharging door
2, Adjust feeder to the lowest rotation speed and gradually close the steam valve.
3, When seeing no feed from the inspection door, turn off the feeder motor and conditioner motor.
4, Feed the greasy feed through the inspection door to fill up the die holes.
5, Turn off the main motor.
6, After the main part of machine stops, open the pellet chamber to remove accumulated feed inside.
7, Remove the impurities on the magnet.
