Views: 3 Author: Site Editor Publish Time: 2024-08-23 Origin: Site
Introduction for Pellet Cooler?
The cooling drum screening machine is a special equipment for cooling and sorting particles. It is suitable for screening various feeds, wood chips and other materials. It has the characteristics of high screening efficiency, low noise, small dust, long service life, simple maintenance and simple operation.
What’s the working principle of horizontal cooling & screening machine ?
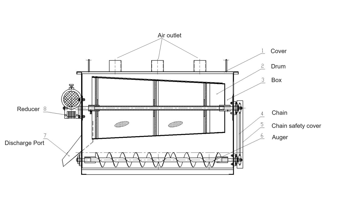
The cooler & screening machine allows the particles produced by the pellet machine to enter the drum through the feed hopper, and the particles and dust are separated by the screen on the drum. The formed particles enter the packaging bag through the discharge port along the rotating direction of the drum, while the dust enters the dust removal bag through the exhaust duct of the induced draft fan; the induced draft fan also cools the high-temperature particles at the same time; there is an auger device under the drum screen, the main function of which is to send the dust that has not entered the induced draft duct and the remaining non-formed particles into the induced draft duct and finally reach the dust removal bag.
How to operate and maintain the wood pellet cooler ?
1. The drum sorter should be started under no-load condition and then added after running.
2. Be careful not to let any foreign matter enter the cooling screen.
3. The operator should check each part of the machine frequently to see if there are any loose parts. If any loose parts are found, they should be tightened immediately.
4. Do not remove the chain safety cover during work to avoid accidents
5. The ball bearing with seat should be greased once per shift.
The chain should be oiled once a week.
The reducer should be checked for lubrication once a month and lubricated in time.
Structure of Cooling Machine
How to Installation and Use the feed pellet cooler machine ?
Connect the drum sorter and the bag dust collector with a hose and clamp them with a hose clamp. When starting the machine, start the bag dust collector first, then start the drum sorter to ensure good results; when shutting down the machine, turn off the drum sorter first, then turn off the bag dust collector to effectively empty the dust in the equipment. The bag dust collector should be cleaned in time to improve the dust removal efficiency. When the dust in the bag is about half a bag, it must be cleaned, and the machine should be stopped for cleaning.
